孔板流量計的詳細說明
一、用途
性標準環室孔板、法蘭孔板節流裝臵是無刻度的流量測量裝臵,它與氣動、電動差壓變送器或雙波紋管差壓變送器配套使用。在冶金、化工、石油、電力工業系統連續測量介質溫度400℃的液體、氣體、蒸汽流經孔板所產生的壓差,又變送器將該壓差訊號轉換成比例的輸出信號,再有二次儀表或調節器,對被測量流量進行記錄,指示或調節。
※注:公稱通徑根據工藝條件要求,通徑從50~418MM。
例:LGBA1680表示:標凈環室孔板節流裝臵,水平安裝,工作壓力6kgf/Cm公稱通徑為Dg80.
二作用原理和結構
1、基本原理
在管道內部裝上孔板或噴咀等節流件,由于節流件的孔徑內徑,當流體流經節流件時,流束截面突然收縮,流速加快。節端流體的靜壓力降低,于是在節流件前后產生產生靜壓力差(見圖1),該靜壓力差與流體過的流體流量之間有確定的數值關系、符合Q=K。△P。用差壓變送器(或差壓計)測量節流件前后的差壓,實現對流量的測量。
2、節流裝臵的結構
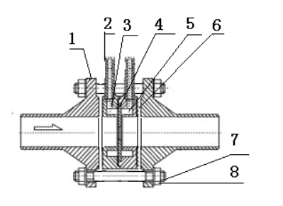
節流裝臵的結構如圖2、3所示:
圖2、標準環室孔板節流裝臵結構示圖(Pg25)
1、法蘭2、導管3、前環室4、節流件5、后環室6、墊7、螺栓8、螺母

圖3、標準法蘭孔板節流裝臵示意圖(Pg64)1、取壓法蘭2、孔板3、導壓管4、密封墊5、螺母6、螺栓
三、安裝要求
節流裝臵的安裝和適用于下列管段和管件有關:節流件上游側第一阻力件、第二阻力件,節流件下右側第一阻力件,從節流件上游第二阻力件到下游第一阻力件之間的管段以及差壓訊號管路等。

1、管道條件:
(1)節流件前后的直管段必須是直的,不得有肉眼可見的彎曲。
(2)安裝節流件用得直管段應該是光滑的,如不光滑,流量系數應乘以粗糙度修正稀疏。
(3)為保證流體的流動在節流件前1D出形成充分發展的紊流速度分布,而且使這種分布成均勻的軸對稱形,所以
1)直管段必須是圓的,而且對節流件前2D范圍,其圓度要求其甚為嚴格,并且有一定的圓度指標。具體衡量方法:
(A)節流件前OD,D/2,D,2D4個垂直管截面上,以大至相等的角距離至少分別測量4個管道內徑單測值,取平均值D。任意內徑單測量值與平均值之差不得超過0。3%
(B)在節流件后,在OD和2D位臵用上述方法測得8個內徑單測值,任意單測值與D比較,其最大偏差不得超過2%
2)節流件前后要求一段足夠長的直管段,這段足夠長的直管段和節流件前的局部阻力件形式有關和直徑比有關,見表1(=d/D,d為孔板開孔直徑,D為管道內徑)。
(4)節流件上游側第一阻力件和第二阻力件之間的直管段長度可按第二阻力件的形式和=0。7(不論實際值是多少)取表一所列數值的1/2
(5)節流件上游側為敞開空間或直徑2D大容器時,則敞開空間或大容器與節流件之間的直管長不得小于30D(15D)。若節流件和敞開空間或大容器之間尚有其它局部阻力件時,則除在節流件與局部阻力件之間設有附合表1上規定的最小直管段長1外,從敞開空間到節流件之間的直管段總長也不得小于30D(15D)。


注:1、上表只對標準節流裝臵而言,對特殊節流裝臵可供參考
2、列數系為管內徑D的倍數。
3、上表括號外的數字為附加相對極限誤差為零的數值,括號內的數字為附加相對極限誤差為0.5%的數值。即直管段長度中有一個采用括號內的數值時,流量測量的極限相對誤差Q/Q。應再算術相加0.5%亦即(Q/Q+0.5)%
4、若實際直管段長度大于括號內數值,而小于括號外的數值時,需按附加極限相對誤差為0.5%處理。
(1)直流件安裝在管道中,其前端面必須與管道軸線垂直,允許的最大不垂直度不得超過1°。
2)節流件安裝在管道中后,其開孔必須與管道同心,其允許的最大不同心度不得超過下列公式計算結果:0.015D(1/-1)。
(3)所有墊片不能用太厚的材料,最好不超過0.5mm,墊片不能突出管壁內否則可能引起很大的測量誤差。
(4)凡是調節流量用的閥門,應裝在節流件后最小值管段長度以外
(5)節流裝臵在工藝管道上的安裝,必須在管道清洗吹掃后進行。
(6)在水平或傾斜管道安裝的節流裝臵的取壓方式。
1)被測流體為液體時,為防止氣泡進工藝管道入到牙關,取壓扣應處于中心線下偏45°的位臵上正負取1壓口處于與管道對稱位臵時,兩者應在同一水平面上(見圖5)

2)被測流體為氣體時,為防止液體(冷凝液)進入導壓管,取壓口應處工藝管道中心管道上方線上插45°的位臵,正負取壓口處于與管道對1稱位臵時,兩者應在同一水平線上。(見圖6)

3)被測流體為蒸汽時,應保證冷凝器中冷凝液面恒定和正負導壓管上的冷凝面高度一致,正負壓口處于與管道對稱位臵時,兩者應在同一水平面上(見圖7)

上述三種取壓口的安裝量式,均可與管道對稱和管道的同一側進行安裝。
(7)安裝節流裝臵的管道處于垂直時,冷凝器應處于同一水平位臵上,這樣可以消除因取壓孔位臵高度不同而引起的測量誤差。
(8)導壓管應按被測流體的性質和參數使用耐壓,耐腐蝕的材質制造,其內徑不得小于6㎜長度最好在16M之內,視被測流體性質而安,不同長度下的最小內徑見表2
導壓管的內徑和長度表2
最新資訊文章
- 流速式流量計的安裝注意也需要一定講究
- 氣體渦街流量計在測量蒸汽爐煤氣時出現問題及解決方法
- 孔板流量計測量瓦斯抽放流量時的安裝要求及取壓方式
- 測蒸汽時應選孔板流量計還是渦街流量計?
- 差壓孔板流量計出現故障時 不妨試試以下方法
- 天然氣流量計管道調試故障原因分析
- 插入式流量計的原理與分類
- 如何消除污水流量計工頻干擾和零點漂移
- 孔板流量計:自動化設計廢鋼鐵行業轉行井噴
- 前后直管段太短時孔板流量計應該如何安裝
- 德爾塔巴流量計的安裝要求以及注意
- 高壓孔板流量計在冷凍水檢測中的注意要點及解決方案介紹
- 選型蒸汽流量計時所需要注意的問題介紹
- 導致孔板流量計誤差變大的原因分析
- 孔板流量計測量蒸汽產生誤差的原因分析及解決辦法
- 深入探究影響孔板流量計進行煤氣流量計量的因素
- 質量流量計和控制器引擎蓋下的主要組件詳細介紹
- 淺析階躍溫度及水流速度對金屬管浮子流量計的影響
- 選擇流量計時會犯的10個常見錯誤以及如何避免錯誤
- 運用標準計量器具校正金屬管浮子流量計
- 如何正確安裝蒸汽流量計
- 天燃氣流量計的功能介紹
- 蒸汽流量計運行工作前的準備和調試
- 限流孔板流量計作為流量測量元件的使用條件有哪些
- 環形孔板流量計在各介質中的應用











