錐體可換型V型錐流量計
(54)實用新型名稱
錐體可換型V型錐流量計(57)摘要
本實用新型的錐體可換型 V型錐流量計涉及流量計領域,是由測量管、左法蘭、正引壓管、負引壓管和右法蘭構成,其所述的左法蘭與右法蘭之間通過測量管固定連接,測量管上設有徑向通孔Ⅰ并與正引壓管連通;右法蘭上設有徑向通孔Ⅱ并與負引壓管連通,右法蘭及測量管內腔中置有 V型錐主體,所述的V型錐主體通過連接桿與支撐體固定連接,所述的支撐體與右法蘭有兩個以上的螺桿緊固連接。本實用新型的錐體可換型V型錐流量計,結構簡單、使用方便,V型錐流量計產生堵塞時,卸下固定錐體的兩個螺絲,取下錐體,使雜質清理非常容易、方便,安裝恢復簡單快捷。當現有Ⅴ型錐流量計量程滿足不了工藝需求時,只要更換適當的錐體總成即可實現量程調整。

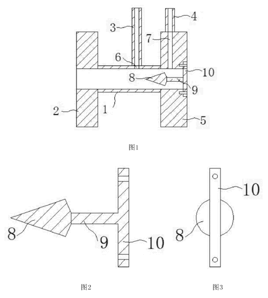
1.錐體可換型V型錐流量計,是由測量管(1)、左法蘭(2)、正引壓管(3)、負引壓管(4)和右法蘭(5)構成,其特征在于所述的左法蘭(2)與右法蘭(5)之間通過測量管(1)固定連接,測量管(1)上設有徑向通孔I(6)并與正引壓管(3)連通;右法蘭(5)上設有徑向通孔Ⅱ(7)并與負引壓管(4)連通,右法蘭(5)及測量管(1)內腔中置有V型錐主體(8),所述的V型錐主體(8)通過連接桿(9)與支撐體(10)固定連接,所述的支撐體(10)與右法蘭(5)有兩個以上的螺桿緊固連接。
2.如權利要求1所述的錐體可換型V型錐流量計,其特征在于所述的V型錐主體(8)的尾端與連接桿(9)固定。
3.如權利要求1或2所述的錐體可換型V型錐流量計,其特征在于所述的右法蘭(5)的厚度大于左法蘭(2)的厚度。
4.如權利要求1或2所述的錐體可換型V型錐流量計,其特征在于所述的V型錐主體(8)、連接桿(9)和支撐體(10)為一體加工成型,整體呈"丁"字型。
技術領域
【0001】 本實用新型涉及流量計領域,尤其涉及錐體可換型V型錐流量計。
背景技術
【002】 v型錐流量計相對于其它差壓式流量計具有壓損小、流量信號穩定、安裝直管段要求低、測量精度高等優點,缺點是量程比窄;對于小口徑V型錐流量計,錐體與測量管間間隙很小,因施工、管道維修等因素,測量介質中含有的雜質,容易對小口徑V型錐流量計產生堵塞甚至堵死,造成計量流量值偏大或無法計量,堵塞的V型錐流量計因測量管徑很小,清理難度大,且容易造成V錐體損傷,影響計量精度,迫切需要一種能夠容易清理錐體的V型錐流量計,目前,市場上V型錐流量計不能滿足上述要求。V型錐流量計具有所有差壓式流量計的固有特點∶即被測介質流量與差壓值的平方根成正比,因此,有效量程比窄,國家儀表檢定部門只在1∶3量程范圍內出具校準報告;因V型錐體不可換,相對孔板流量計,通用性不強,不能形成標準化,對于量程變化大的場所,V型錐流量計難以滿足要求。
實用新型內容
【0003】 本實用新型的目的在于克服現有技術中存在的缺陷,提供一種錐體可換型V型錐流量計。
【004】 本實用新型的錐體可換型V型錐流量計,是由測量管、左法蘭、正引壓管、負引壓管和右法蘭構成,其所述的左法蘭與右法蘭之間通過測量管固定連接,測量管上設有徑向通孔I并與正引壓管連通;右法蘭上設有徑向通孔Ⅱ并與負引壓管連通,右法蘭及測量管內腔中置有V型錐主體,所述的V型錐主體通過連接桿與支撐體固定連接,所述的支撐體與右法蘭有兩個以上的螺桿緊固連接。
【0005】 作為本實用新型的進一步改進,所述的V型錐主體的尾端與連接桿固定。【0006】 作為本實用新型的進一步改進,所述的右法蘭的厚度大于左法蘭的厚度。【0007】 作為本實用新型的進一步改進,所述的V型錐主體、連接桿和支撐體為一體加工成型,整體呈""字型。
【0008】 本實用新型的錐體可換型V型錐流量計,結構簡單、使用方便,v型錐流量計產生堵塞時,卸下固定錐體的兩個螺絲,取下錐體,使雜質清理非常容易、方便,安裝恢復簡單快捷。當現有V型錐流量計量程滿足不了工藝需求時,只要更換適當的錐體總成即可實現量程調整,無須標定,無需更換整體流量計,能夠快速、便捷、低成本的解決V型錐流量計堵塞后不易清理和流量計量程調整問題。
附圖說明
【0009】 圖1為本實用新型的結構總裝圖∶【o010】 圖2為本實用新型V型錐體總成剖視圖;【001】 圖3為本實用新型v型錐體總成俯視圖。
具體實施方式
【0012】 下面結合附圖1、附圖2和附圖3對本實用新型的錐體可換型V型錐流量計,作進一步說明。【0013】 實施例1
【0014】 本實用新型的錐體可換型V型錐流量計,是由測量管1、左法蘭2、正引壓管3、負引壓管4和右法蘭5構成,其所述的左法蘭2與右法蘭5之間通過測量管1固定連接,測量管1上設有徑向通孔16并與正引壓管3連通;右法蘭5上設有徑向通孔Ⅱ7并與負引壓管4連通,右法蘭5及測量管1內腔中置有V型錐主體8,所述的V型錐主體8通過連接桿9與支撐體10固定連接,所述的支撐體10與右法蘭5有兩個以上的螺桿緊固連接。【0015】 所述的V型錐主體8的尾端與連接桿9固定。【0016】 實施例2
【0017】 本實用新型的錐體可換型v型錐流量計,是由測量管1、左法蘭2、正引壓管3、負引壓管4和右法蘭5構成,其所述的左法蘭2與右法蘭5之間通過測量管1固定連接,測量管1上設有徑向通孔16并與正引壓管3連通;右法蘭5上設有徑向通孔Ⅱ7并與負引壓管4連通,右法蘭5及測量管1內腔中置有V型錐主體8,所述的V型錐主體8通過連接桿9與支撐體10固定連接,所述的支撐體10與右法蘭5有兩個以上的螺桿緊固連接。所述的V型錐主體8的尾端與連接桿9固定。右法蘭5的厚度大于左法蘭2的厚度,右法蘭厚度做相應加厚,確保耐壓等級同左側法蘭一致。所述的V型錐主體8、連接桿9和支撐體10為一體加工成型,整體呈"丁"字型。支撐體10與右法蘭5使用螺絲固定,容易保證錐體在測量管很好對中,提高流量測量精度,避免錐體脫落,安全性高,工藝配對法蘭安裝后錐體總成更加牢固;尤其適用于高壓流體計量。采用"丁"字型結構,固定時可最大限度減少測量管道內介質的阻力和擾動,差壓信號更加平穩、可靠,對于小差壓信號尤其明顯。V型錐主體8、連接桿9和支撐體10通過螺絲固定于右法蘭上,同時工藝配對與右法蘭連接后,使錐體總成再次固定,徹底擺脫錐體振動,提高安全性,特別是對于高壓測量優勢更加突出。
【0018】 本實用新型的錐體可換型v型錐流量計產生堵塞時,卸下固定錐體總成的兩個螺絲,取下清洗干凈后可快速安裝,簡單快捷。當現有V型錐流量計量程滿足不了工藝需求時,只要更換適當的V型錐體即可實現,無需更換整體流量計。

最新資訊文章
- 流速式流量計的安裝注意也需要一定講究
- 氣體渦街流量計在測量蒸汽爐煤氣時出現問題及解決方法
- 孔板流量計測量瓦斯抽放流量時的安裝要求及取壓方式
- 測蒸汽時應選孔板流量計還是渦街流量計?
- 差壓孔板流量計出現故障時 不妨試試以下方法
- 天然氣流量計管道調試故障原因分析
- 插入式流量計的原理與分類
- 如何消除污水流量計工頻干擾和零點漂移
- 孔板流量計:自動化設計廢鋼鐵行業轉行井噴
- 前后直管段太短時孔板流量計應該如何安裝
- 德爾塔巴流量計的安裝要求以及注意
- 高壓孔板流量計在冷凍水檢測中的注意要點及解決方案介紹
- 選型蒸汽流量計時所需要注意的問題介紹
- 導致孔板流量計誤差變大的原因分析
- 孔板流量計測量蒸汽產生誤差的原因分析及解決辦法
- 深入探究影響孔板流量計進行煤氣流量計量的因素
- 質量流量計和控制器引擎蓋下的主要組件詳細介紹
- 淺析階躍溫度及水流速度對金屬管浮子流量計的影響
- 選擇流量計時會犯的10個常見錯誤以及如何避免錯誤
- 運用標準計量器具校正金屬管浮子流量計
- 如何正確安裝蒸汽流量計
- 天燃氣流量計的功能介紹
- 蒸汽流量計運行工作前的準備和調試
- 限流孔板流量計作為流量測量元件的使用條件有哪些
- 環形孔板流量計在各介質中的應用












