文丘里流量計
西安華恒儀表制造有限公司是掌握流量計、壓力變送器、密度計、液位計核心技術的儀表生產廠家。主要生產流量計/壓力變送器/密度計/液位計OEM(代工),擁有自主的研發團隊和生產線??梢宰灾餮邪l設計滿足各行業、各環境下的高精度流量計。今天和大家分享一下文丘里流量計。
本發明公開了一種文丘里流量計,包括主管段、喉口管段及喉口取壓管,主管段上設置有進口及出口,主管段上設有高壓及低壓取壓口;喉口管段可相對于主管段沿軸向移動;喉口取壓管的第一端與低壓取壓口連通,第二端向喉口管段喉口延伸,且第二端能夠隨喉口管段與主管段的相對移動靠近或遠離喉口以改變喉口管段與主管段之間的通流截面積,喉口管段與主管段相對移動時始終連通;通過改變喉口管段與主管段之間的通流截面積,能夠使壓差值始終處于壓差傳感器精度較高的量程內,保證測量精度,并且能夠使壓差根據發動機EGR率的需求而變化,調節廢氣流量,使EGR系統控制更精準,實現同一規格流量計適配多種排量及EGR廢氣流量需求的發動機。

1.一種文丘里流量計,其特征在于,包括:
主管段,其上設置有進口以及出口,所述主管段的管壁上沿所述進口到所述出口方向依次設有高壓取壓口以及低壓取壓口;
喉口管段,所述喉口管段與所述主管段同軸密封連接且所述喉口管段可相對于所述主管段沿軸向往復移動;
喉口取壓管,所述喉口取壓管的第一端與所述低壓取壓口連通,第二端向所述喉口管段的喉口延伸,且所述喉口取壓管的第二端能夠隨所述喉口管段與所述主管段的相對移動靠近或遠離所述喉口管段的喉口,以改變所述喉口管段與所述主管段之間的通流截面積,所述喉口管段與所述主管段相對移動時始終保持連通。
2.根據權利要求1所述的文丘里流量計,其特征在于,所述主管段包括進口管段以及出口管段,所述喉口管段的兩端分別與所述進口管段以及所述出口管段連接,所述高壓取壓口、所述低壓取壓口以及所述喉口取壓管設置于所述進口管段內。
3.根據權利要求2所述的文丘里流量計,其特征在于,所述進口管段以及所述出口管段朝向所述喉口管段的端部分別設置有連接部,所述喉口管段的兩端分別設置有配合部,所述喉口管段的兩端的配合部分別與所述進口管段上的連接部以及所述喉口管段上的連接部插接配合。
4.根據權利要求3所述的文丘里流量計,其特征在于,所述連接部為環形插槽,所述配合部為環形插頭。
5.根據權利要求1-4任意一項所述的文丘里流量計,其特征在于,所述喉口取壓管呈L形,且所述喉口取壓管的第一端與所述低壓取壓口同軸設置,第二端與所述喉口管段同軸設置。
6.根據權利要求1-4任意一項所述的文丘里流量計,其特征在于,所述喉口管段的收縮段、喉口以及擴散段之間平滑過渡連接構成沙漏狀通道。
7.根據權利要求6所述的文丘里流量計,其特征在于,所述喉口取壓管的第二端呈水滴形結構,且所述水滴形結構的小端朝向所述喉口管段。
8.根據權利要求7所述的文丘里流量計,其特征在于,所述喉口取壓管上的各部分外表面之間圓滑過渡連接。
9.根據權利要求1-4及7-8任意一項所述的文丘里流量計,其特征在于,還包括壓差傳感器,所述壓差傳感器的高壓檢測端設置于所述高壓取壓口,所述壓差傳感器的低壓檢測端設置于所述低壓取壓口。
10.根據權利要求1-4及7-8任意一項所述的文丘里流量計,其特征在于,所述喉口取壓管的第二端的最大尺寸小于所述喉口管段的喉口的最小尺寸。
背景技術
EGR系統需要文丘里流量計對廢氣流量進行監測,以便于控制。
現有的文丘里流量計存在測量精度受排氣脈沖影響的問題。由于排氣壓力脈沖而產生的排氣壓力的波動不可避免地被文丘里流量計的重要部件文丘里壓差傳感器所感知并采集,而文丘里壓差傳感器的可用量程又必須完全覆蓋EGR廢氣壓力脈沖的波峰與波谷,這就導致在文丘里壓差傳感器量程選擇過程中,匹配的文丘里壓差傳感器量程偏差大,而實際應用的量程范圍不能處于文丘里壓差傳感器精度較高的區域內,產生測量精度偏差的現象,導致文丘里流量計的測量誤差偏大;且固定截面文丘里流量計在小流量時,產生的測量壓差很小,測量精度差,在大流量時,產生的節流損失過大,最大通流量受到限制。
發明內容
有鑒于此,本發明的目的在于提供一種文丘里流量計,以提高測量精度。
為實現上述目的,本發明提供如下技術方案:
一種文丘里流量計,包括:
主管段,其上設置有進口以及出口,所述主管段的管壁上沿所述進口到所述出口方向依次設有高壓取壓口以及低壓取壓口;
喉口管段,所述喉口管段與所述主管段同軸密封連接且所述喉口管段可相對于所述主管段沿軸向往復移動;
喉口取壓管,所述喉口取壓管的第一端與所述低壓取壓口連通,第二端向所述喉口管段的喉口延伸,且所述喉口取壓管的第二端能夠隨所述喉口管段與所述主管段的相對移動靠近或遠離所述喉口管段的喉口,以改變所述喉口管段與所述主管段之間的通流截面積,所述喉口管段與所述主管段相對移動時始終保持連通。
優選地,所述主管段包括進口管段以及出口管段,所述喉口管段的兩端分別與所述進口管段以及所述出口管段連接,所述高壓取壓口、所述低壓取壓口以及所述喉口取壓管設置于所述進口管段內。
優選地,所述進口管段以及所述出口管段朝向所述喉口管段的端部分別設置有連接部,所述喉口管段的兩端分別設置有配合部,所述喉口管段的兩端的配合部分別與所述進口管段上的連接部以及所述喉口管段上的連接部插接配合。
優選地,所述連接部為環形插槽,所述配合部為環形插頭。
優選地,所述喉口取壓管呈L形,且所述喉口取壓管的第一端與所述低壓取壓口同軸設置,第二端與所述喉口管段同軸設置。
優選地,所述喉口管段的收縮段、喉口以及擴散段之間平滑過渡連接構成沙漏狀通道。
優選地,所述喉口取壓管的第二端呈水滴形結構,且所述水滴形結構的小端朝向所述喉口管段。
優選地,所述喉口取壓管上的各部分外表面之間圓滑過渡連接。
優選地,還包括壓差傳感器,所述壓差傳感器的高壓檢測端設置于所述高壓取壓口,所述壓差傳感器的低壓檢測端設置于所述低壓取壓口。
優選地,所述喉口取壓管的第二端的最大尺寸小于所述喉口管段的喉口的最小尺寸。
綜上所述,本發明提供的文丘里流量計包括主管段、喉口管段以及喉口取壓管,其中,主管段上設置有進口以及出口,主管段的管壁上沿進口到出口方向依次設有高壓取壓口以及低壓取壓口;喉口管段與主管段同軸密封連接且喉口管段可相對于主管段沿軸向往復移動;喉口取壓管的第一端與低壓取壓口連通,第二端向喉口管段的喉口延伸,且喉口取壓管的第二端能夠隨喉口管段與主管段的相對移動靠近或遠離喉口管段的喉口,以改變喉口管段與主管段之間的通流截面積,喉口管段與主管段相對移動時始終保持連通;
在使用時,通過使喉口管段相對于主管段的軸向移動,可調節文丘里流量計喉口處的實際通流截面積,使壓差可調,從而調節文丘里流量計喉口處節流產生的壓降,使文丘里壓差傳感器測得壓差信號始終處于精度較高的測量區域內,保證其測量精度,根據文丘里壓差傳感器測量的壓差信號與實際通流截面積大小,通過伯努利方程、能量守恒定律以及流體流動連續性方程等,可以計算出喉口管段處于每一個位置和每一個壓差下對應的EGR廢氣流量,從而保證文丘里流量計的測量精度,并且能夠使EGR系統的壓差根據發動機EGR率的需求變化而變化,調節廢氣流量,使得EGR系統控制更精準,同時實現同一規格文丘里流量計適配多種排量、多種EGR廢氣流量需求的發動機。
附圖說明
為了更清楚地說明本發明實施例或現有技術中的技術方案,下面將對實施例或現有技術描述中所需要使用的附圖作簡單地介紹,顯而易見地,下面描述中的附圖僅僅是本發明的一些實施例,對于本領域普通技術人員來講,在不付出創造性勞動的前提下,還可以根據這些附圖獲得其他的附圖。
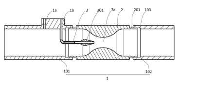
圖1為本發明實施例提供的文丘里流量計的結構示意圖。
其中,1為主管段;101為進口管段;102為出口管段;103為環形插槽;1a為高壓取壓口;1b為低壓取壓口;2為喉口管段;201為環形插頭;2a為喉口;3為喉口取壓管;301為水滴形結構。
具體實施方式
下面將結合本發明實施例中的附圖,對本發明實施例中的技術方案進行清楚、完整地描述,顯然,所描述的實施例僅僅是本發明一部分實施例,而不是全部的實施例?;诒景l明中的實施例,本領域普通技術人員在沒有做出創造性勞動前提下所獲得的所有其他實施例,都屬于本發明保護的范圍。
請參閱圖1,圖1為本發明實施例提供的文丘里流量計的結構示意圖。
本發明實施例提供了一種文丘里流量計,包括主管段1、喉口管段2以及喉口管3。
其中,主管段1上設置有進口以及出口,主管段1的管壁上沿進口到出口方向依次設有高壓取壓口1a以及低壓取壓口1b;喉口管段2?與主管段1同軸密封連接且喉口管段2可相對于主管段1沿軸向往復移動;喉口取壓管1的第一端與低壓取壓口1b連通,第二端向喉口管段2的喉口延伸,且喉口取壓管3的第二端能夠隨喉口管段2與主管段1的相對移動靠近或遠離喉口管段2的喉口,以改變喉口管段2與主管段1之間的通流截面積,喉口管段2與主管段1相對移動時始終保持連通。
綜上所述,與現有技術相比,本發明實施例提供的文丘里流量計在使用時,通過使喉口管段相對于主管段的軸向移動,可調節文丘里流量計喉口處的實際通流截面積,使壓差可調,從而調節文丘里流量計喉口處節流產生的壓降,使文丘里壓差傳感器測得壓差信號始終處于精度較高的測量區域內,保證其測量精度,根據文丘里壓差傳感器測量的壓差信號與實際通流截面積大小,通過伯努利方程、能量守恒定律以及流體流動連續性方程等,可以計算出喉口管段處于每一個位置和每一個壓差下對應的EGR廢氣流量,從而保證文丘里流量計的測量精度,并且能夠使EGR系統的壓差根據發動機EGR率的需求變化而變化,調節廢氣流量,使得EGR系統控制更精準,同時實現同一規格文丘里流量計適配多種排量、多種EGR廢氣流量需求的發動機。
上述喉口管段2的移動可通過設置于文丘里流量計外的驅動裝置實現,該驅動裝置可以為電動驅動裝置,如電機,也可以為活塞缸。
作為優選地,主管段1包括進口管段101以及出口管段102,進口管段101連接上游設備,出口管段102連接下游設備,喉口管段2?設置于進口管段101與出口管段102之間,喉口管段2的兩端分別與進口管段101以及出口管段102連接,高壓取壓口1a、低壓取壓口1b以及喉口取壓管3設置于進口管段101內。
進口管段101與喉口管段2之間以及出口管段102與喉口管段2?之間可通過多種方式實現可移動密封連接,比如插接、螺接等,如圖?1所示,在本發明實施例中,進口管段101以及出口管段102朝向喉口管段2的端部分別設置有連接部,喉口管段2的兩端分別設置有配合部,喉口管段2的兩端的配合部分別與進口管段101上的連接部以及喉口管段2上的連接部插接配合。作為優選地,連接部為環形插槽103,配合部為環形插頭201。
在上述實施例中,為保證密封,需在環形插槽103與環形插頭201?之間設置密封帶。
進一步優化上述技術方案,喉口取壓管3呈L形,且喉口取壓管?3的第一端與低壓取壓口1b同軸設置,第二端與喉口管段2同軸設置。如圖1所示,喉口取壓管3包括沿進口管段101徑向延伸的連接管段以及沿進口管段101軸向延伸的中心管段,連接管段遠離中心管段的一端同軸連接于低壓取壓口1b,中心管段與進口管段101同軸。當然,?L形喉口取壓管3僅僅是本發明實施例提供的優選實施方案,實際并不局限于此,還可以采用弧形或者不規則形狀等等,喉口取壓管3的橫截面外形也不局限于圖中所示的圓形,可以為流線形,以減少阻力。
作為優選地,如圖1所示,在本發明實施例中,喉口管段2的收縮段、喉口2a以及擴散段之間平滑過渡連接構成沙漏狀通道,利用這種平滑過渡連接的表面有助于減小氣流阻力,減小對壓降的影響。
為保證喉口管段能夠始終與進口管段連通,在本發明實施例中,喉口取壓管的第二端的最大尺寸小于喉口管段的喉口的最小尺寸。
為減小阻力,如圖1所示,在本發明實施例中,喉口取壓管3的第二端呈水滴形結構301,且水滴形結構301的小端朝向喉口管段2,喉口取壓管3的第二段采用水滴形結構301的尖端一方面能夠減小氣流阻力,另一方面便于與上述實施例中的喉口2a配合。
作為優選地,為減小氣流阻力,可將喉口取壓管3上的各部分外表面之間圓滑過渡連接。
進一步優化上述技術方案,還可以在上述的文丘里流量計上集成壓差傳感器,壓差傳感器的高壓檢測端設置于高壓取壓口1a,壓差傳感器的低壓檢測端設置于低壓取壓口1b,即壓差傳感器的低壓檢測端從低壓取壓口1b伸入至喉口取壓管3的第二端管口。
本說明書中各個實施例采用遞進的方式描述,每個實施例重點說明的都是與其他實施例的不同之處,各個實施例之間相同相似部分互相參見即可。
對所公開的實施例的上述說明,使本領域專業技術人員能夠實現或使用本發明。對這些實施例的多種修改對本領域的專業技術人員來說將是顯而易見的,本文中所定義的一般原理可以在不脫離本發明的精神或范圍的情況下,在其它實施例中實現。因此,本發明將不會被限制于本文所示的這些實施例,而是要符合與本文所公開的原理和新穎特點相一致的最寬的范圍。
相信通過以上文丘里流量計的全部內容,能夠使大家對文丘里流量計有一個較為全面的認識,對選擇合適的液體流量計有所幫助。如有疑問,可以隨時聯系我們。
最新資訊文章
- 流速式流量計的安裝注意也需要一定講究
- 氣體渦街流量計在測量蒸汽爐煤氣時出現問題及解決方法
- 孔板流量計測量瓦斯抽放流量時的安裝要求及取壓方式
- 測蒸汽時應選孔板流量計還是渦街流量計?
- 差壓孔板流量計出現故障時 不妨試試以下方法
- 天然氣流量計管道調試故障原因分析
- 插入式流量計的原理與分類
- 如何消除污水流量計工頻干擾和零點漂移
- 孔板流量計:自動化設計廢鋼鐵行業轉行井噴
- 前后直管段太短時孔板流量計應該如何安裝
- 德爾塔巴流量計的安裝要求以及注意
- 高壓孔板流量計在冷凍水檢測中的注意要點及解決方案介紹
- 選型蒸汽流量計時所需要注意的問題介紹
- 導致孔板流量計誤差變大的原因分析
- 孔板流量計測量蒸汽產生誤差的原因分析及解決辦法
- 深入探究影響孔板流量計進行煤氣流量計量的因素
- 質量流量計和控制器引擎蓋下的主要組件詳細介紹
- 淺析階躍溫度及水流速度對金屬管浮子流量計的影響
- 選擇流量計時會犯的10個常見錯誤以及如何避免錯誤
- 運用標準計量器具校正金屬管浮子流量計
- 如何正確安裝蒸汽流量計
- 天燃氣流量計的功能介紹
- 蒸汽流量計運行工作前的準備和調試
- 限流孔板流量計作為流量測量元件的使用條件有哪些
- 環形孔板流量計在各介質中的應用













